Şimdi Ara

İkinci nesil Galaxy Ring ekrana sahip olabilir: İşte Samsung'un yeni patenti

Daha Fazla
Bu Konudaki Kullanıcılar: Daha Az
2 Misafir - 2 Masaüstü
5 sn
3
Cevap
0
Favori
230
Tıklama
Daha Fazla
İstatistik
  • Konu İstatistikleri Yükleniyor
1 oy
Öne Çıkar
Sayfa: 1
Giriş
Mesaj
  • İkinci nesil Galaxy Ring ekrana sahip olabilir: İşte Samsung'un yeni patenti
    Samsung, 10 Temmuz'da yapılacak Galaxy Unpacked etkinliğinde Galaxy Ring isimli akıllı yüzüğünü piyasaya sürecek. Ancak teknoloji devinin, gelecek nesil akıllı yüzükleri için farklı planları var. Yeni bir patent başvurusu, Samsung'un farklı tasarıma sahip yüzükler planladığını ortaya koyuyor.



    İkinci nesil Galaxy Ring 2 oldukça farklı tasarıma sahip olabilir



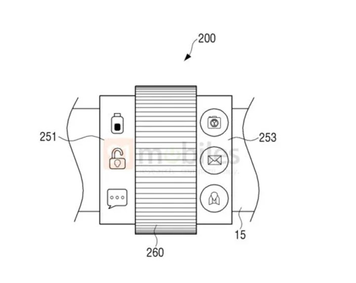
    Mayıs 2024'te ABD'de yapılan patent başvurusundaki çizimlere göre Samsung, üst tarafı düz yüzeye sahip bir akıllı yüzük tasarlıyor. Bu düz katmanın dış kısmında bir ekranın yer alacağı, iç kısımda ise sensörlerin bulunacağı tahmin ediliyor. Ekran, antrenman istatistikleri ve kalp atışı hızı gibi bazı önemli bilgileri veya arama ve bildirimleri telefona ihtiyaç duymadan kolayca görmeyi sağlayabilir. 



    Ek olarak, ikinci nesil Galaxy Ring, yuvarlak tasarımlı ve iki ekrana sahip bir versiyonla da gelebilir. Bu ekranlardan biri uygulama simgeleri için, diğeri ise bir uygulama simgesine tıklandığında içerik veya bilgi göstermek için kullanılabilir. 



    İkinci nesil Galaxy Ring ekrana sahip olabilir: İşte Samsung'un yeni patenti



     



    İkinci nesil Galaxy Ring ekrana sahip olabilir: İşte Samsung'un yeni patenti



    İkinci nesil Galaxy Ring ekrana sahip olabilir: İşte Samsung'un yeni patenti



    Görseller ayrıca, Galaxy Ring 2'nin daha kalın olabileceğini gösteriyor. Artan hacim, daha fazla sensör ve daha büyük pilin eklenmesini sağlayabilir. Patent listesine göre Galaxy Ring, Galvanik Cilt Tepkisi (GSR), SPO2, PPG ve EKG ölçümünü destekleyecek. Ayrıca yüzük, sıcaklık sensörü, hızlanma sensörü, parmak izi sensörü ve bir anahtarla da donatılacak. Bununla birlikte, cihazda muhtemelen Bluetooth bağlantısı yer alacak. Ödeme yapmak için Wi-Fi, NFC ve MST'yi (manyetik güvenli iletim) özelliklerine de yer verilebileceği belirtiliyor.



    Ayrıca Bkz.Samsung Galaxy Ring'in sağlık takibi özellikleri ortaya çıktı



    Patente göre, ikinci nesil yüzük aynı zamanda birden fazla boyuta sahip olacak. Güney Kore'de 27, ABD'de 65 yüzük boyutunun olacağı belirtiliyor. Tabi bunlar patent çizimleri olduğu için, burada belirtilen özelliklerin bir kısmı nihai üründe yer almayabilir veya tasarımsal anlamda değişiklikler içerebilir.




    Kaynak:https://www.91mobiles.com/hub/new-samsung-galaxy-ring-display-patent-samsung/







  • Çok saçma bir ürün değil mi ya? Kim, niye kullansın bunu. Saat var zaten.

    < Bu ileti Android uygulamasından atıldı >
    _____________________________
    Vatansever
  • Yapay Zeka’dan İlgili Konular
    Daha Fazla Göster
    
Sayfa: 1
- x
Bildirim
mesajınız kopyalandı (ctrl+v) yapıştırmak istediğiniz yere yapıştırabilirsiniz.